Механизм

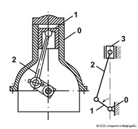
Механи́зм, система тел, предназначенная для преобразования движения одного или нескольких тел в требуемые движения др. твердых тел. Если в преобразовании движения участвуют жидкие или газообразные тела, то механизм называется гидравлическим или пневматическим. Обычно в механизме имеется одно входное звено, получающее движение от двигателя, и одно выходное звено, соединенное с рабочим органом машины или указателем прибора. Различают механизмы плоские, у которых точки звеньев описывают траектории, лежащие в параллельных плоскостях, и пространственные.
Статья находится в рубриках
Яндекс.Метрика