Рубрики
А-Я
Хронограф
Словари
Авторам
О проекте
Случайная статья
Редактировать
Распечатать
Механизм (двигателя внутреннего сгорания, схема)
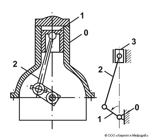
Чертеж (а) и кинематическая схема (б) механизма двигателя внутреннего сгорания; 1 — коленчатый вал (кривошип); 2 — шатун; 3 — ползун; О — стойка.
Навигатор