Коллектор (в технике)

Колле́ктор в технике,
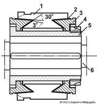
1) коллектор электромашины — механический преобразователь частоты, конструктивно объединенный с якорем (ротором) электрической машины. С помощью коллектора достигается скользящий электрический контакт между неподвижной частью электрической цепи и секциями вращающейся обмотки якоря.
2) Коллектор транзистора (коллекторная область) — область биполярного транзистора, в которой собирается большинство носителей заряда из его базы.
3) Коллектор электровакуумного прибора — устройство (электрод, система электродов и др.), служащее для приема или перехвата потока электронов.
4) Коллектор при осушении — дренажная труба или канал, которые принимают воду из регулирующей части осушительной сети и отводят ее за пределы осушаемой территории.
5) Коллектор канализационный — участок канализационной сети, собирающий сточные воды из бассейнов канализования.
6) Подземная галерея для укладки кабелей связи (кабельный коллектор) и для укладки труб разного назначения — водопроводных, газовых и др. (общий коллектор).
7) Название некоторых технических устройств (напр., выпускной и впускной коллектор двигателя внутреннего сгорания).
Статья находится в рубриках
Яндекс.Метрика