Рубрики
А-Я
Хронограф
Словари
Авторам
О проекте
Случайная статья
Редактировать
Распечатать
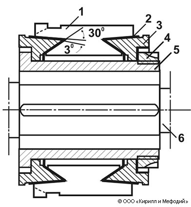
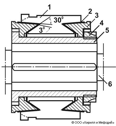
Коллектор (электромашинный, схема)
Цилиндрический коллектор электрической машины с конусными нажимными шайбами: 1 — коллекторная пластина; 2 — миканитовая манжета; 3 — конусная нажимная шайба; 4 — кольцевая гайка; 5 — втулка; 6 — вал якоря.
Навигатор