Домкрат

Домкра́т (от голл. dommekracht), механизм для подъема тяжелых штучных грузов. Применяются при выполнении ремонтных, монтажных или погрузочно-разгрузочных работ, обеспечивают плавный подъем грузов, точную их фиксацию и и удержание на заданной высоте. Грузоподъемность дократов до 1500 т, максимальная высота подъема 0, 15-2, 6 м. По принципу привода различают домкраты с ручным и электрическим приводом, а по принципу действия — реечные, винтовые, гидравлические и пневматические.
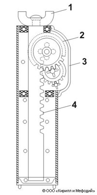
Основная делать реечного домкрата — грузонесущяя рейка с опорной чашкой для груза. По принципу передаточного механизма делятся на рычажные и зубчатые. Поднятый груз удерживается стопорными устройствами. КПД реечного домкрата 80%.
Основная деталь винтового домкрата — винт с шарнирно закрепленной грузоопорной чашкой, приводимый в движение рукояткой. Разновидность — домкрат на салазках, применяемый для перемещения груза в горизонтальной плоскости. Удержание груза осуществляется самоторможением винта, что обеспечивает высокую степень безопасности работы. Недостаток винтовых домкратов — относительно низкий КПД (30-40%).
Гидравлические домкраты используют для подьема грузов давление жидкости, подаваемой насосом. Могут быть периодического действия с ручным приводом и непрерывного действия с механическим приводом. Объединяют в себе достоинства реечных и винтовых домкратов — высокий КПД (75-80%), плавность хода, точность остановки, самоторможение и большую грузоподъемность. Недостаток — малая скорость.
Пневматические домкраты представляют собой плоскую резинокордную оболочку, увеличивающуюся по высоте при подаче в нее сжатого воздуха (газа). Достоинство пневматических домкратов — возможность их установки на рыхлую и неровную поверхность.
Статья находится в рубриках
Яндекс.Метрика