Рубрики
А-Я
Хронограф
Словари
Авторам
О проекте
Случайная статья
Редактировать
Распечатать
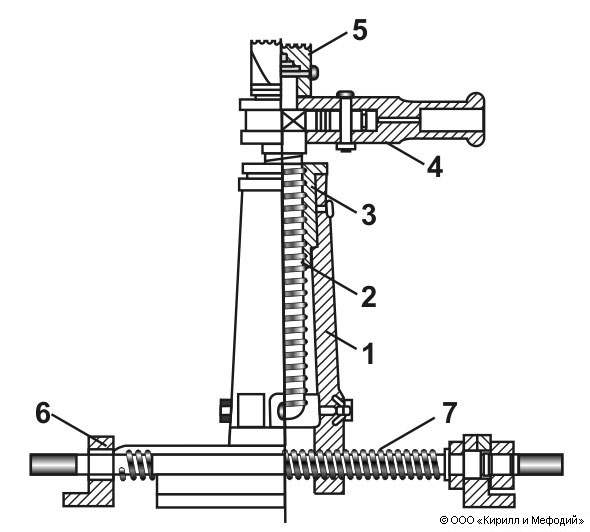
Домкрат (винтовой, схема)
Винтовой домкрат на салазках: 1 — корпус; 2 — грузонесущий винт; 3 — направляющая рейка; 4 — рукоятка; 5 — чашка для груза; 6 — салазки; 7 — горизонтальный винт.
Навигатор