Рубрики
А-Я
Хронограф
Словари
Авторам
О проекте
Случайная статья
Редактировать
Распечатать
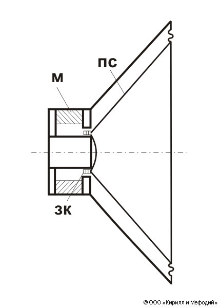
Электродинамический громкоговоритель (схема)
Схема электродинамического громкоговорителя прямого излучения: М — магнит; ПС — подвижная система (диафрагма); ЗК — звуковая катушка.
Навигатор