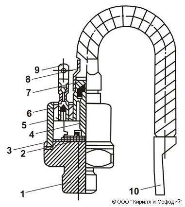
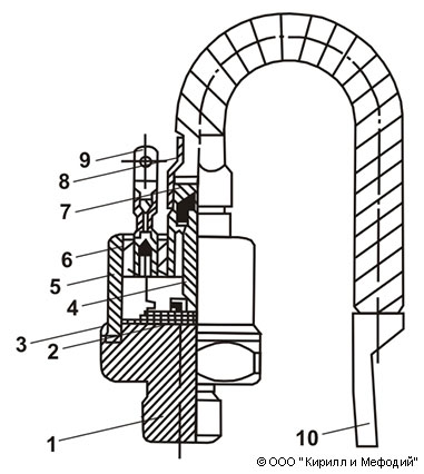
Тиристор (управляемый, в разрезе)

Управляемый тиристор (в разрезе): 1 — основание (силовой электрод); 2 — полупроводниковый кристалл; 3 — фторопластовое кольцо; 4 — гибкий внутренний провод; 5 — крышка; 6 — изолятор крышки; 7 — стержень крышки; 8 — гибкий наружный вывод (силовой электрод); 9 — управляющий электрод; 10 — наконечник наружного вывода.
Яндекс.Метрика