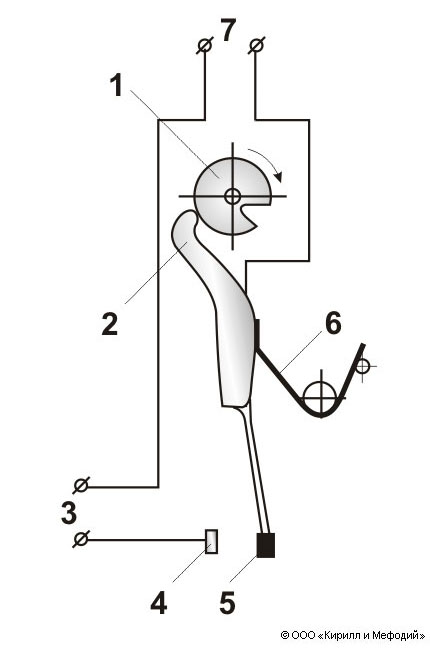
Таймер (схема)

Схема таймера однократного действия с часовым механизмом, используемого для подключения бытовых приборов (радиоприемника, телевизора, электроплитки и т. п.) к электросети: 1 — профилированный кулачок на валу часового механизма; 2 — рычаг, при перемещении которого (в результате попадания головки в вырез кулачка) замыкаются подвижный контакт 5 с неподвижным 4; 3 — гнезда для подключения электроприбора к таймеру; 6 — пружина, прижимающая рычаг к кулачку; 7 — гнезда для подключения таймера к электросети.
Яндекс.Метрика