Рубрики
А-Я
Хронограф
Словари
Авторам
О проекте
Случайная статья
Редактировать
Распечатать
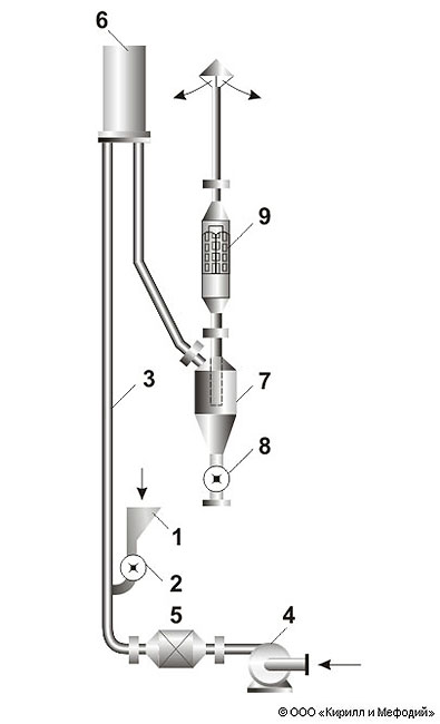
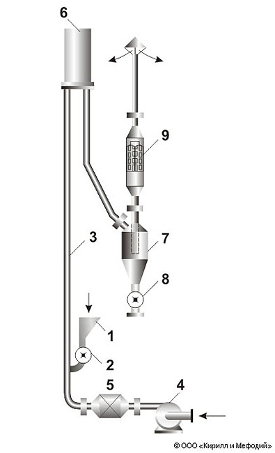
Сушилка (пневматическая, схема)
Пневматическая сушилка: 1 — бункер; 2 — питатель; 3 — труба; 4 — вентилятор; 5 — калорифер; 6 — сборник-амортизатор; 7 — циклон; 8 — разгрузочное устройство; 9 — фильтр.
Навигатор