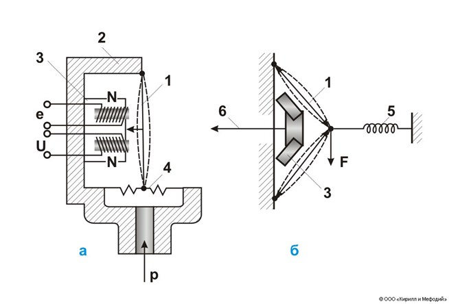
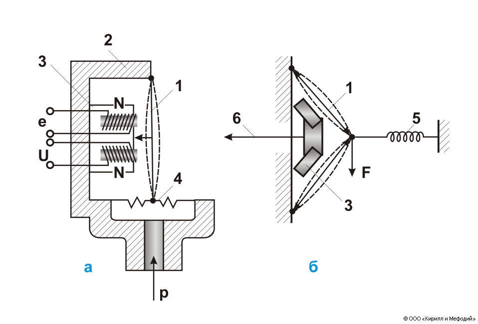
Струнный датчик (схемы)

Схемы устройства струнных датчиков: а — однострунного; б — дифференциального; 1 — струна; 2 — корпус; 3 — выходной преобразователь (U — напряжение питания, е — эдс на выходе преобразователя); 4 — мембрана; 5 — пружина; 6 — выходной сигнал; р и F — измеряемые параметры (давление и усилие).
Яндекс.Метрика