Рубрики
А-Я
Хронограф
Словари
Авторам
О проекте
Случайная статья
Редактировать
Распечатать
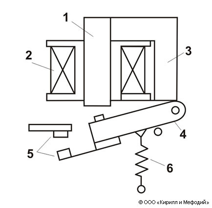
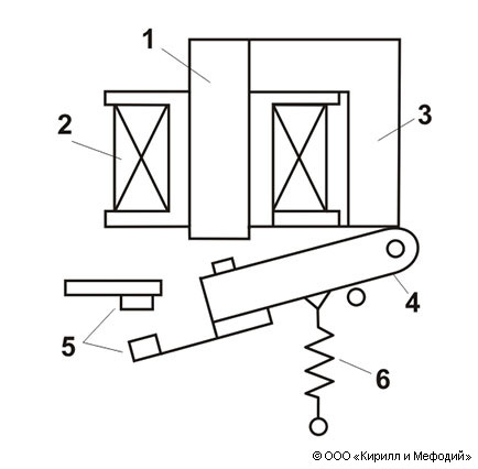
Реле (схема)
Электромагнитное реле: 1 — сердечник; 2 — обмотка; 3 — ярмо; 4 — якорь; 5 — контакты; 6 — возвратная пружина.
Навигатор