Рубрики
А-Я
Хронограф
Словари
Авторам
О проекте
Случайная статья
Редактировать
Распечатать
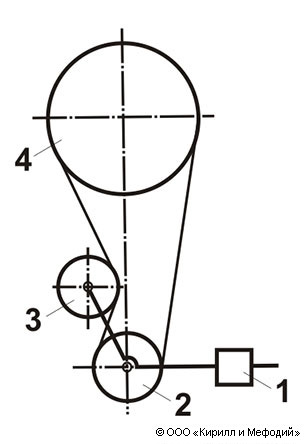
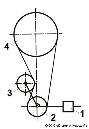
Натяжной ролик (схема)
Схема ременной передачи с натяжным роликом: 1 — привод; 2 — малый шкив; 3 — натяжной ролик; 4 — большой шкив.
Навигатор