Рубрики
А-Я
Хронограф
Словари
Авторам
О проекте
Случайная статья
Редактировать
Распечатать
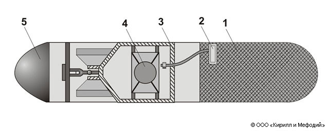
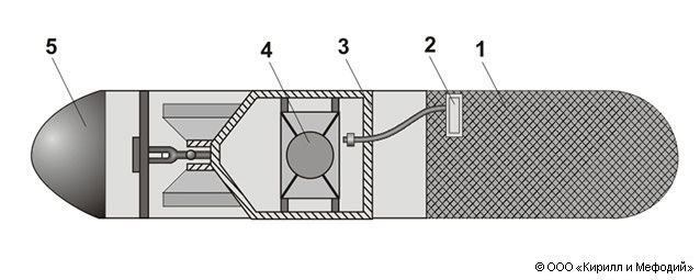
Мина морская (авиационная неконтактная донная)
Авиационная неконтактная донная мина: 1 — заряд взрывчатого вещества; 2 — электродетонатор; 3 — приборная камера; 4 — магнитный взрыватель, подвешенный на амортизаторах; 5 — парашютное отделение.
Навигатор