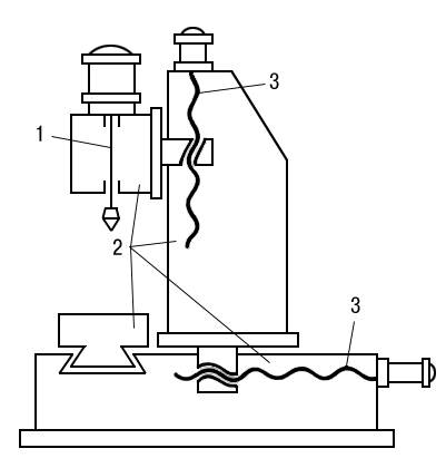
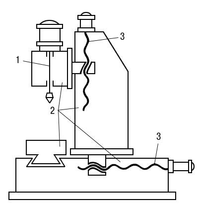
Металлорежущий станок (основные узлы)

Металлорежущий станок (основные узлы): 1 — главный привод (сообщает движение инструменту или заготовке, обычно закрепленным в шпинделе); 2 — базовые детали; 3 — приводы подачи и позиционирования (перемещают инструмент относительно заготовки для формирования обрабатываемой поверхности).
Яндекс.Метрика