Рубрики
А-Я
Хронограф
Словари
Авторам
О проекте
Случайная статья
Редактировать
Распечатать
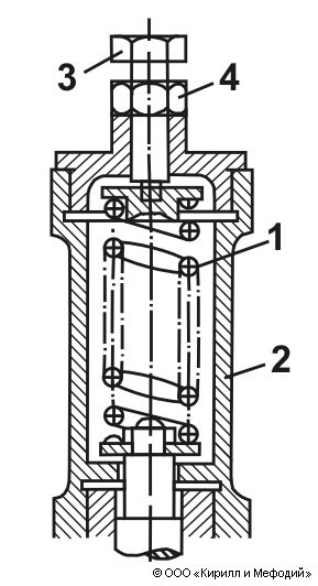
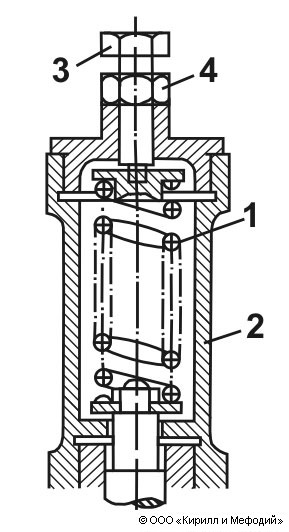
Компенсатор (регулировочный винт)
Компенсация отклонений, изменяющих усилие пружины, регулировочным винтом: 1 — пружина; 2 — корпус; 3 — регулировочный винт; 4 — контргайка.
Навигатор