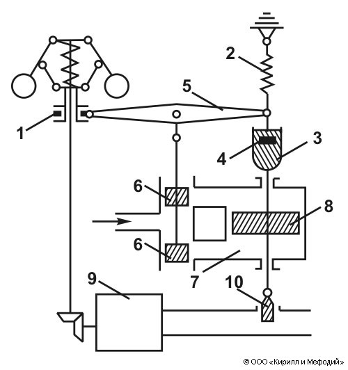
Схема изодромного регулятора оборотов. При изменении нагрузки (например, увеличении) частота вращения двигателя 9 уменьшается, муфта 1 регулятора через рычаг 5 и золотник 6 приводит в действие сервомотор 7, поршень 8 которого опускается, а вместе с ним опускается цилиндр 3 демпфера. Под действием пружины 2 поршень 4 демпфера перемещается вверх относительно цилиндра 3, суммарная длина обратной связи увеличивается, вызывая стойкое смещение заслонки 10, регулирующей подачу топлива (пара) в двигатель, и частота вращения двигателя стабилизируется.