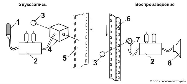
Звукозапись (оптическая, схема)

Схема фотографической звукозаписи и воспроизведения: 1 — микрофон; 2 — усилитель электрических колебаний; 3 — источник света; 4 — модулятор света; 5 — носитель записи (кинопленка); 6 — дорожка записи (фотографическая фонограмма); 7 — фотоэлемент; 8 — громкоговоритель. Стрелкой указано направление движения носителя записи.
Яндекс.Метрика