Рубрики
А-Я
Хронограф
Словари
Авторам
О проекте
Случайная статья
Редактировать
Распечатать
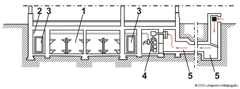
Защитные сооружения (убежище в подвале)
Убежище в подвале здания: 1 — отсеки для укрываемых людей; 2 — тамбур; 3 — защитно-герметические двери; 4 — фильтро-вентиляционная установка; 5 — аварийный выход, используемый для забора воздуха.
Навигатор