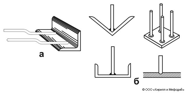
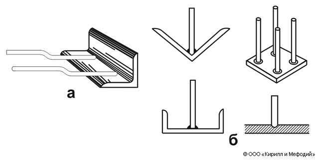
Закладные детали

Закладные детали: а — из уголковой стали с двумя изогнутыми анкерными стержнями; б — из сортового проката с прямыми анкерными стержнями.
Яндекс.Метрика