Рубрики
А-Я
Хронограф
Словари
Авторам
О проекте
Случайная статья
Редактировать
Распечатать
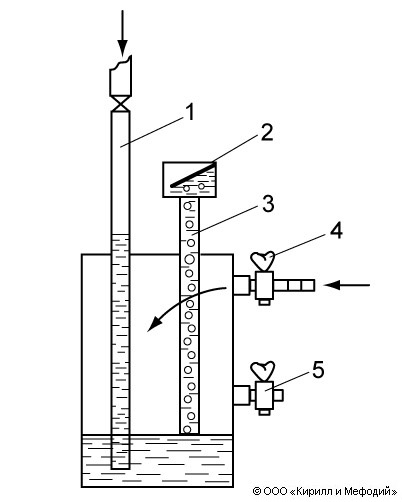
Водяной затвор (схема)
Схема водяного затвора, применяемого при газовой сварке (при «обратном ударе»): 1 и 3 — трубки; 2 — щиток; 4 и 5 — краны.
Навигатор