Рубрики
А-Я
Хронограф
Словари
Авторам
О проекте
Случайная статья
Редактировать
Распечатать
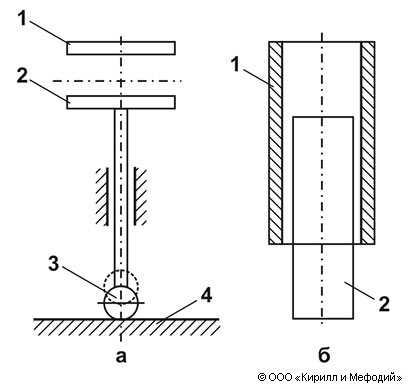
Емкостные датчики (схемы)
Емкостные датчики перемещения: а — плоскопараллельный; б — цилиндрический; 1 и 2 — обкладки конденсатора; 3 — щуп; 4 — исследуемая поверхность.
Навигатор