Рубрики
А-Я
Хронограф
Словари
Авторам
О проекте
Случайная статья
Редактировать
Распечатать
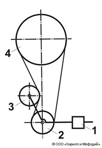
Натяжной ролик
Схема
Натяжно́й ро́лик (леникс), свободно вращающийся блок (или колесо) для регулирования натяжения ведомой ветви ременной или канатной передачи.
Статья находится в рубриках
ТЕХНИКА
»
Основные отрасли техники
»
Механические устройства
Навигатор