Рубрики
А-Я
Хронограф
Словари
Авторам
О проекте
Случайная статья
Редактировать
Распечатать
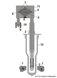
Магнитные весы
Схема
Магни́тные весы́, специальные весы (рычажные, крутильные и др.) для измерения магнитной восприимчивости, констант магнитной анизотропии веществ по механической силе, действующей на исследуемый образец в неоднородном магнитном поле.
Статья находится в рубриках
ТЕХНИКА
»
Основные отрасли техники
»
Измерительная техника. Метрология
Навигатор