Электродинамический громкоговоритель

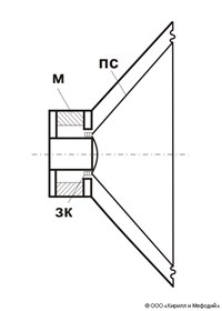
Электродинами́ческий громкоговори́тель (динамик) — устройство для преобразования электрических колебаний звуковых частот в механические колебания, в котором используется взаимодействие магнитного поля постоянного магнита с током в подвижной катушке, подключенной к источнику электрических колебаний. Катушка, располагаемая в зазоре магнита, и жестко связанная с ней диафрагма вместе с магнитной системой образуют головку электродинамического громкоговорителя. Взаимодействие тока с магнитным полем вызывает механические колебания диафрагмы, сопровождающиеся излучением звуковых волн непосредственно (в динамиках прямого излучения) или через рупор (в рупорных громкоговорителях). Для обеспечения качества звучания и надежности головку помещают в корпус из дерева, пластмассы или металла. Электродинамические громкоговорители используют в радиоприемниках, электрофонах, магнитофонах. Мощность динамика зависит от его назначения и лежит в пределах от 0, 05 до 100 ва; коэффициент полезного действия гроикоговорителя прямого излучения обычно не превышает 1-3 %. Электродинамические громкоговорители бывают узкополосные (воспроизведение в узком интервале частот, например 300-5000 гц) и широкополосные (40-15000 гц). Широкополосные головки сложны в изготовлении, поэтому в громкоговорителях часто применяют системы, состоящие из нескольких головок, каждая из которых производит звук в определенном участке частотного диапазона.
Статья находится в рубриках
Яндекс.Метрика